【導讀】隨著各國政府出臺舉措來推動減少內燃機 (ICE) 汽車排放的溫室氣體,原始設備制造商 (OEM) 紛紛將機械系統重新設計為電子控制系統。高水平的系統連接和智能技術使自動駕駛汽車成為現實,因此市場對電子產品和軟件算法的需求不斷增長,以符合包括國際標準化組織 (ISO) 26262 在內的各項安全要求。
隨著各國政府出臺舉措來推動減少內燃機 (ICE) 汽車排放的溫室氣體,原始設備制造商 (OEM) 紛紛將機械系統重新設計為電子控制系統。高水平的系統連接和智能技術使自動駕駛汽車成為現實,因此市場對電子產品和軟件算法的需求不斷增長,以符合包括國際標準化組織 (ISO) 26262 在內的各項安全要求。

傳感器,尤其是角度傳感器,在需要滿足功能安全標準的系統中不可或缺。它有助于監控和提供扭矩和角度信息,而這些信息是高效驅動或運行各種汽車系統所必需的。
設計 EPS 系統
電動助力轉向系統 (EPS) 由轉向柱、電子控制轉向電機以及電子感應與控制機制組成。當駕駛員轉動方向盤時,由電機(通常是無刷直流電機)協助轉向,這取代了傳統的機械和液壓系統。
EPS 系統的優點包括運行更快且更智能、減少二氧化碳排放、提高燃油效率并增強用戶體驗。駕駛員在方向盤界面提供系統輸入。傳感器檢測電機軸的位置和方向盤的旋轉,并將數據發送到電子控制單元 (ECU)。圖 1 突出顯示了 EPS 系統的基本元素。

圖 1:EPS 系統
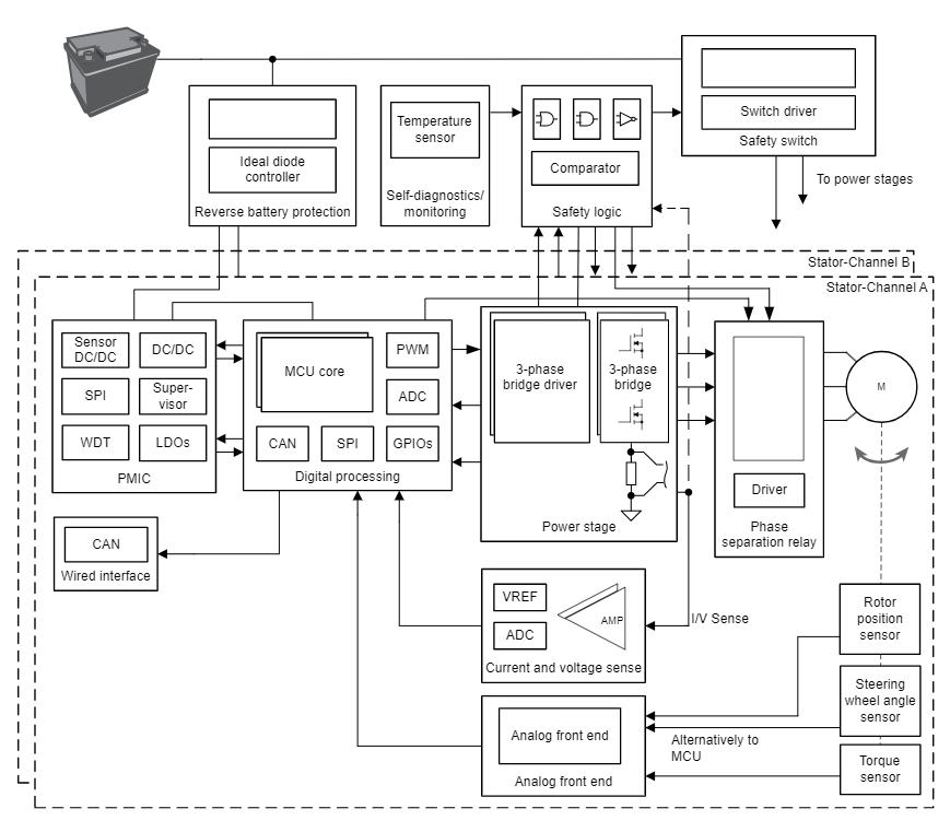
設計 EPS 系統所需的組件包括微控制器、傳感器、電源、電機驅動器和晶體管。這些組件對于系統高效通信和運行至關重要。如圖 2 所示,控制器局域網是用于連接車輛 ECU 的總線標準。

圖 2:EPS 系統方框圖
德州儀器 (TI) 的 TMAG6181-Q1 是各向異性磁阻 (AMR) 角度傳感器。它具有集成信號調節放大器,能夠提供與所施加平面磁場的方向相關的差分正弦和余弦模擬輸出。
TMAG6181-Q1 的延遲低于 2μs,角度誤差僅為 0.4 度,有助于大大提高系統性能和效率。傳感器的集成匝數計數器可以跟蹤電機在正常運行模式下最高 32,000 轉/分 (rpm) 的轉速和低功耗模式下最高 8,000 rpm 的轉速。它還能支持多種器件和系統級診斷功能,可檢測、監控和報告器件運行期間的故障。例如,在睡眠或故障模式下,TMAG6181-Q1 AMR 傳感器的輸出將進入高阻抗狀態。建議使用下拉或上拉電阻,以確保微控制器能夠檢測故障。
要處理 AMR 輸出信號并提取 EPS 電機或方向盤的角度位置,通常需要外部微控制器。TMAG6181-Q1 中的 AMR 角度傳感器可用于單端或差分輸出模式;后一種模式可消除系統中的共模干擾。來自 AMR 傳感器的差分輸出正弦和余弦信號與所施加磁場的角度成正比。AMR 傳感器的輸出電壓與電源電壓成比例,以確保外部 ADC 能夠參考電源電壓。
圖 3 展示了一個典型應用圖,其中差分輸出信號 SIN_P、SIN_N、COS_P 和 COS_N 連接到外部微控制器中的四個單端模數轉換器,而外部微控制器與 EPS 系統中的 ECU 通信。

圖 3:單端輸出模式下的 TMAG6181-Q1
如果有的話,建議使用差分 ADC,因為它能夠提高可靠性。要獲得高精度,負載電容器和電阻必須相互匹配。TMAG6181-Q1 可直接在 AMR 輸出引腳上驅動高達 10nF 的容性負載,并驅動拉電流和灌電流高達 1mA 的電阻負載。這可實現 EPS 系統的平穩可靠運行。
為簡化合規性,針對 TMAG6181-Q1 提供了 ISO 26262 系統設計文檔,其中汽車安全完整性等級高達 B 級。
設計電動自行車和電動踏板車系統
電動自行車是包含五個關鍵組件的自行車:電機、電池、控制裝置、傳感器和顯示屏。電機是電動自行車不可或缺的一部分,可用于在腳踏期間提供所需的額外電力。如圖 4 中的方框圖所示,若要高效可靠地旋轉電機(可安裝在前部、中央或后部),需要角度傳感器。
電動踏板車是從燃氣驅動轉換為電動的踏板車。它的電機驅動系統設計與電動自行車非常相似,只不過它沒有那么復雜。電動踏板車設計只需在油門踩下時為電機供電即可,但電動自行車設計還必須監測騎手的腳踏動力,以確定向電機的供電量。不同地區要求電動自行車和電動踏板車達到與汽車行業相似的安全水平。
圖 4 重點介紹了開發電動自行車系統所需的組件。角度傳感器可提供角度反饋,然后由微控制器計算角度反饋,從而有效可靠地旋轉電機。AMR 傳感器通常限制為 180 度,但 TMAG6181-Q1 在 X 和 Y 軸增加了兩個獨立的霍爾效應傳感器輸出,可將傳感器的角度范圍擴大到 360 度。

圖 4:電動自行車方框圖
結語
當今的汽車和電動自行車包含多個 ECU,用于驅動和控制高級功能。設計 EPS 系統、電動自行車或電動踏板車需要 ECU 精確控制,以實現高效可靠的運行。TMAG6181-Q1 可實現更快、更精確的電機控制,有助于提高系統性能。
其他資源
· 德州儀器 (TI),TMAG6180-6181 評估模塊工具。
· 德州儀器 (TI),?汽車功能安全以及 TI 如何通過高精度位置傳感器幫助客戶技術白皮書。
· 德州儀器 (TI),AMR 感應中低功耗匝數的優勢應用簡報。
關于德州儀器 (TI)
德州儀器 (TI)(納斯達克股票代碼:TXN)是一家全球性的半導體公司,致力于設計、制造、測試和銷售模擬和嵌入式處理芯片,用于工業、汽車、個人電子產品、通信設備和企業系統等市場。我們致力于通過半導體技術讓電子產品更經濟實用,創造一個更美好的世界。如今,每一代創新都建立在上一代創新的基礎之上,使我們的技術變得更小巧、更快速、更可靠、更實惠,從而實現半導體在電子產品領域的廣泛應用,這就是工程的進步。這正是我們數十年來乃至現在一直在做的事。
免責聲明:本文為轉載文章,轉載此文目的在于傳遞更多信息,版權歸原作者所有。本文所用視頻、圖片、文字如涉及作品版權問題,請聯系小編進行處理。
推薦閱讀:
意法半導體NFC標簽芯片擴大品牌保護范圍,新增先進的片上數字簽名功能



